Nhà xưởng chuyên sản xuất ống gió tại vũng tàu.
- 831 đường 2 tháng 9, P.11, Tp.Vũng Tàu
- 02543.848.003
- info@gnair.vn
- sanxuatonggio.com.vn
- gnair.vn
Công Ty TNHH Cơ Điện Lạnh Gia Nguyễn
Hotline:
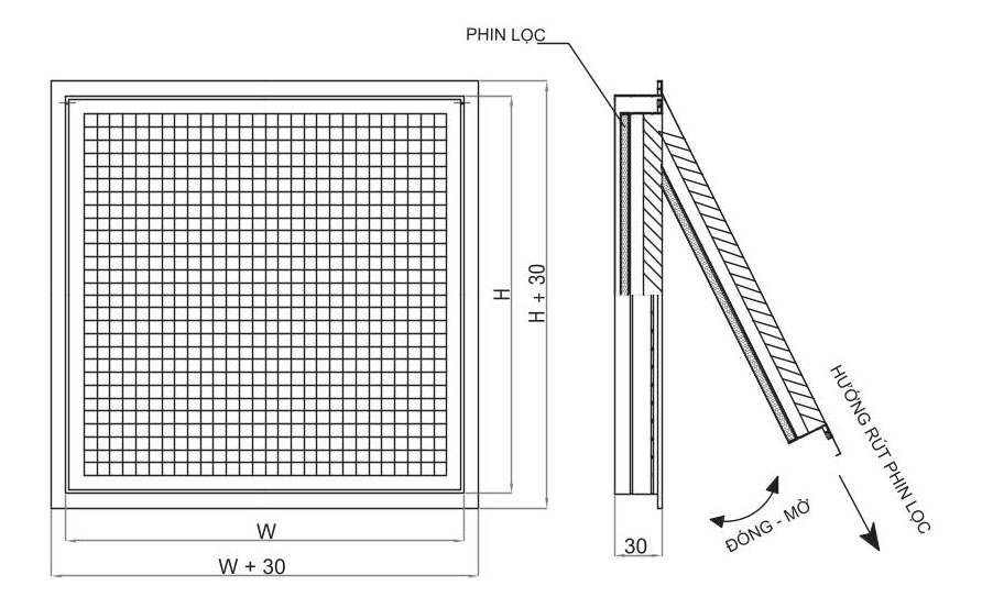
0979.007.003- Công dụng: thường để hồi gió.
- Vị trí lắp: gắn lên trần giả, tường, hoặc gắn trực tiếp lên ống gió.
- Vật liệu: hôm hình làm từ phôi A6063-T5, hợp chuẩn JIS H4100.
- Xử lý bề mặt: sơn tĩnh điện màu trắng hoặc màu khác theo yêu cầu.
- Kết cấu: cánh làm từ lá nhôm mỏng lắp nghiêng hạn chế nhìn thấy bên trong. Khung đôi cho phép tháo lắp nhanh phần lõi miệng gió để lấy phin lọc hoặc chỉnh van gió
- Phụ kiện: thường lắp với van miệng gió OBD và phin lọc bụi RAF.

Bảng vẽ miệng gió sọt trứng cánh nghiêng khung rời.
Công ty TNHH Cơ Điện Lạnh Gia Nguyễn Nhà xưởng số 1 chuyên sản xuất và cung cấp ống gió,phụ kiện ống gió,cung cấp máy lạnh, điều hòa không khí, hệ thống thông gió (HVAC) cho các công trình.Miệng gió sọt trứng cánh nghiêng khung rời là một trong số những mặt hàng bán chạy nhất cũng như cung cấp cho các dự án nhiều nhất của chúng tôi.
Để được tư vấn và báo giá về các mặt hàng ống gió Quý khách hàng có thể liên hệ qua thông tin dưới đây:
THÔNG TIN LIÊN HỆ:
Công Ty TNHH Cơ Điện Lạnh Gia Nguyễn
Địa Chỉ: 831 đường 2 tháng 9, P.11, Tp.Vũng Tàu02543.848.003
Điện Thoại:0979.007.003 - 02543.848.003
Website:https://gnair.vn/ và https://sanxuatonggio.com.vn/